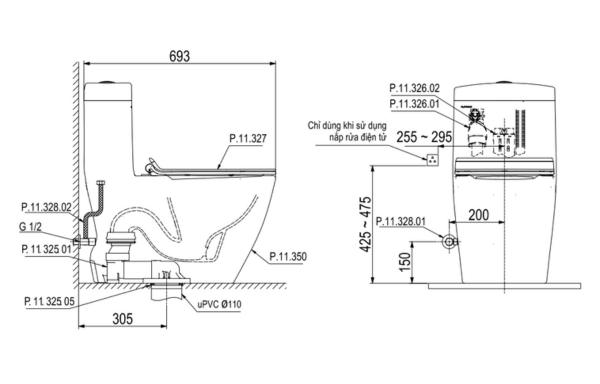
Bồn Cầu Liền Khối P.11.350

Liên hệ đặt hàng
Danh mục: